|
Главная > О нашей продукции > Новости производителей > Новые ТРВ ТХ-7 от ALCO CONTROLS
Новые ТРВ ТХ-7 от ALCO CONTROLSНовые трв серии ТХ-7 для систем кондиционирования, тепловых насосов и холодильной техники.
В 2016 году компания Emerson начала производство новой серии ТРВ TX7 , заменившей хорошо знакомую выпускаемую на протяжении многих лет серию ТХ6.
Область применения :системы кондиционирования воздуха, чиллеры, автономные, крышные и транспортные кондиционеры, тепловые насосы, холодильные установки, требующие герметичности, компактности, а также стабильной работы в широком диапазоне нагрузок и температур.
Технические особенности :
• Герметичность и соединения под пайку.
• 7 моделей производительностью до 180 кВт (R410A).
• Максимальное рабочее давление 46 бар. (испытательное 50,6 Бар).
• Двунаправленное применение
• Силовой элемент диаметром 65 мм обеспечивает стабильный перегрев при работе с частичной нагрузкой в 20-25% от номинальной, благодаря чему ТХ7 идеально подходят для систем со спиральными компрессорами Digital Сopeland Scroll, винтовыми компрессорами с бесступенчатым регулированием производительности, компрессорами с переменной скоростью вращения вала.
• Силовой элемент сделан из нержавеющей стали с помощью лазерной сварки. Специальный профиль диафрагмы обеспечивает длительный срок службы при высоком давлении через уравнительную трубку при работе в обратном направлении.
• Диафрагма с малым гистерезисом хорошо противостоит высокому давлению.
• Специальные уставки по специальному заказу от 60 штук.
Технические данные
Максимальное рабочее давление PS |
46 бар |
Соединение |
Медь, под пайку, ODF |
Давление разрушения |
230 бар |
Длина капилярной трубки |
1.5 м |
Давление заводских испытаний РТ |
50.6 бар |
Силовой элемент |
Нержавеющая сталь, лазерная сварка |
Температура рабочей среды TS |
-25...+70°С |
Этикетка |
Лазерная гравировка |
Температура хранения |
-30...+70°С |
Масса |
0.54...0.6 кг (зависит от типа ТРВ) |
Совместимость |
R410A, R134a, R407C, R32, R450A, R513A |
Маркировка |
С Є не требуется, ожидает ЕАС и UL |
Заправка |
Хладагент |
Рекомендуемый диапазон температур [°С] |
Макс. температура термобаллона [°С] |
M0 |
R134a |
-25...+30 |
88 |
N0 |
R407C |
-25...+20 |
71 |
M1 MOP 3.8 бар |
R134a |
-25...+10 |
120 |
N1 MOP 6.9 бар |
R407C |
-25...+14 |
120 |
Z1 MOP 12.1 бар |
R410A/R32 |
-40...+14 |
120 |
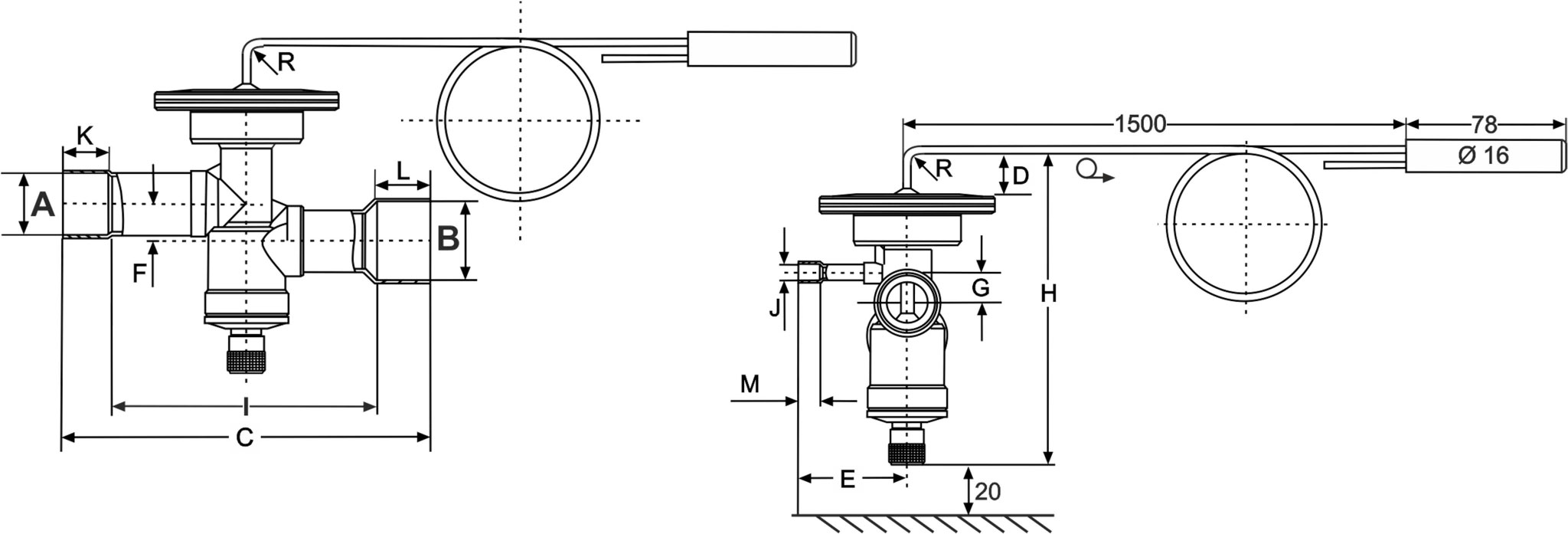
Размеры [мм]

Тип/размер |
Вход * А |
Выход * В |
Внешнее уравнивание J |
Мин. полная высота [мм] |
Расстояние между входной и выходной трубами [мм] |
Мин. высота согнутой капиллярной трубки** [мм] |
Остальные [мм] |
ODF |
ODF |
ODF |
H |
I |
D |
C |
E |
F |
G |
K |
L |
M |
TX7-..3 |
1/2" |
5/8" |
1/4" |
106 |
109.8 |
10 |
130 |
39 |
13 |
8 |
9.1 |
11.1 |
8 |
TX7-..3M |
12mm |
16mm |
6mm |
109.8 |
9.1 |
11.1 |
TX7-..4 |
5/8" |
7/8" |
1/4" |
103 |
11.1 |
15.9 |
TX7-..4M |
16mm |
22mm |
6mm |
103 |
11.1 |
15.9 |
TX7-..5 |
5/8" |
7/8" |
1/4" |
103 |
11.1 |
15.9 |
TX7-..5M |
16mm |
22mm |
6mm |
103 |
11.1 |
15.9 |
TX7-..6 |
7/8" |
1-1/8" |
1/4" |
109 |
95.2 |
40.5 |
11 |
15.9 |
18.9 |
TX7-..6M |
22mm |
28mm |
6mm |
TX7-..7 |
7/8" |
1-1/8" |
1/4" |
TX7-..7M |
22mm |
28mm |
6mm |
TX7-..8 |
7/8" |
1-1/8" |
1/4" |
TX7-..8M |
22mm |
28mm |
6mm |
TX7-..9 |
7/8" |
1-1/8" |
1/4" |
TX7-..9M |
22mm |
28mm |
6mm |
Внимание: *) При работе в прямом направлении **) Радиус гиба R=5 мм
R410a / R32 Таблица подбора
Холодопроизводительность, R410А [кВт] |
Холодопроизводительность, R32 [кВт] |
|
Соединение |
В прямом направлении |
В обратном направлени |
В прямом направлении |
В обратном направлени |
ТРВ |
№ заказа |
Вход х Выход |
Уравнивание |
32.1 |
31.7 |
47.7 |
46.9 |
TX7-Z13 m |
806811 |
12 mm x 16 mm |
6 mm |
32.1 |
31.7 |
47.7 |
46.9 |
TX7-Z13 |
806810 |
1/2" x 5/8" |
1/4" |
39.9 |
39.1 |
59.3 |
57.8 |
TX7-Z14 m |
806813 |
16 mm x 22 mm |
6 mm |
39.9 |
39.1 |
59.3 |
57.8 |
TX7-Z14 |
806812 |
5/8" x 7/8" |
1/4" |
48.9 |
47.4 |
72.7 |
70.1 |
TX7-Z15 m |
806815 |
16 mm x 22 mm |
6 mm |
48.9 |
47.4 |
72.7 |
70.1 |
TX7-Z15 |
806814 |
5/8" x 7/8" |
1/4" |
80.7 |
67.7 |
120 |
100.2 |
TX7-Z16 m |
806817 |
22 mm x 28 mm |
6 mm |
80.7 |
67.7 |
120 |
100.2 |
TX7-Z16 |
806816 |
7/8" x 1-1/8" |
1/4" |
99.4 |
81.5 |
147.9 |
120.5 |
TX7-Z17 m |
806819 |
22 mm x 28 mm |
6 mm |
99.4 |
81.5 |
147.9 |
120.5 |
TX7-Z17 |
806818 |
7/8" x 1-1/8" |
1/4" |
130.9 |
113.9 |
194.7 |
168.4 |
TX7-Z18 m |
806821 |
22 mm x 28 mm |
6 mm |
130.9 |
113.9 |
194.7 |
168.4 |
TX7-Z18 |
806820 |
7/8" x 1-1/8" |
1/4" |
183.4 |
165.1 |
272.9 |
244.1 |
TX7-Z19 m |
806823 |
22 mm x 28 mm |
6 mm |
183.4 |
165.1 |
272.9 |
244.1 |
TX7-Z19 |
806822 |
7/8" x 1-1/8" |
1/4" |
Внимание: Номинальная производительность дана при условиях: кипение +4°С, конденсация +38°С, переохлаждение 1К.
R134a Таблица подбора
Холодопроизводительность, R134a [кВт] |
С МОР |
Без МОР |
Соединение |
В прямом направлении |
В обратном направлени |
Модель |
№ заказа |
Модель |
№ заказа |
Вход х Выход |
Уравнивание |
18.1 |
17.9 |
TX7-M13 m |
806839 |
TX7-M03 m |
806825 |
12 mm x 16 mm |
6 mm |
18.1 |
17.9 |
TX7-M13 |
806840 |
TX7-M03 |
806824 |
1/2" x 5/8" |
1/4" |
22.5 |
22 |
TX7-M14 m |
806841 |
TX7-M04 m |
806827 |
16 mm x 22 mm |
6 mm |
22.5 |
22 |
TX7-M14 |
806842 |
TX7-M04 |
806826 |
5/8" x 7/8" |
1/4" |
27.5 |
26.7 |
TX7-M15 m |
806843 |
TX7-M05 m |
806829 |
16 mm x 22 mm |
6 mm |
27.5 |
26.7 |
TX7-M15 |
806844 |
TX7-M05 |
806828 |
5/8" x 7/8" |
1/4" |
45.4 |
38.2 |
TX7-M16 m |
806845 |
TX7-M06 m |
806831 |
22 mm x 28 mm |
6 mm |
45.4 |
38.2 |
TX7-M16 |
806846 |
TX7-M06 |
806830 |
7/8" x 1-1/8" |
1/4" |
56.0 |
45.9 |
TX7-M17 m |
806847 |
TX7-M07 m |
806833 |
22 mm x 28 mm |
6 mm |
56.0 |
45.9 |
TX7-M17 |
806848 |
TX7-M07 |
806832 |
7/8" x 1-1/8" |
1/4" |
73.7 |
64.1 |
TX7-M18 m |
806849 |
TX7-M08 m |
806835 |
22 mm x 28 mm |
6 mm |
73.7 |
64.1 |
TX7-M18 |
806850 |
TX7-M08 |
806834 |
7/8" x 1-1/8" |
1/4" |
103.3 |
93 |
TX7-M19 m |
806851 |
TX7-M09 m |
806837 |
22 mm x 28 mm |
6 mm |
103.3 |
93 |
TX7-M19 |
806852 |
TX7-M09 |
806836 |
7/8" x 1-1/8" |
1/4" |
Внимание: Номинальная производительность дана при условиях: кипение +4°С, конденсация +38°С, переохлаждение 1К.
R407C Таблица подбора
Холодопроизводительность, R407C [кВт] |
С МОР |
Без МОР |
Соединение |
В прямом направлении |
В обратном направлени |
Модель |
№ заказа |
Модель |
№ заказа |
Вход х Выход |
Уравнивание |
28.9 |
28.6 |
TX7-N13 m |
806868 |
TX7-N03 m |
806853 |
12 mm x 16 mm |
6 mm |
28.9 |
28.6 |
TX7-N13 |
806867 |
TX7-N03 |
806852 |
1/2" x 5/8" |
1/4" |
36.0 |
35.2 |
TX7-N14 m |
806870 |
TX7-N04 m |
806855 |
16 mm x 22 mm |
6 mm |
36.0 |
35.2 |
TX7-N14 |
806869 |
TX7-N04 |
806854 |
5/8" x 7/8" |
1/4" |
44.1 |
42.7 |
TX7-N15 m |
806872 |
TX7-N05 m |
806857 |
16 mm x 22 mm |
6 mm |
44.1 |
42.7 |
TX7-N15 |
806871 |
TX7-N05 |
806856 |
5/8" x 7/8" |
1/4" |
72.7 |
61.1 |
TX7-N16 m |
806874 |
TX7-N06 m |
806859 |
22 mm x 28 mm |
6 mm |
72.7 |
61.1 |
TX7-N16 |
806873 |
TX7-N06 |
806858 |
7/8" x 1-1/8" |
1/4" |
89.7 |
73.5 |
TX7-N17 m |
806876 |
TX7-N07 m |
806861 |
22 mm x 28 mm |
6 mm |
89.7 |
73.5 |
TX7-N17 |
806875 |
TX7-N07 |
806860 |
7/8" x 1-1/8" |
1/4" |
118.1 |
102.7 |
TX7-N18 m |
806878 |
TX7-N08 m |
806863 |
22 mm x 28 mm |
6 mm |
118.1 |
102.7 |
TX7-N18 |
806877 |
TX7-N08 |
806862 |
7/8" x 1-1/8" |
1/4" |
165.4 |
148.9 |
TX7-N19 m |
806880 |
TX7-N09 m |
806865 |
22 mm x 28 mm |
6 mm |
165.4 |
148.9 |
TX7-N19 |
806879 |
TX7-N09 |
806864 |
7/8" x 1-1/8" |
1/4" |
Внимание: Номинальная производительность дана при условиях: кипение +4°С, конденсация +38°С, переохлаждение 1К.
С начала 2017 года компания ПХС поддерживает постоянный значительный складской запас трв ТХ7.
|